 |
Голосование |
| |
|
Мы рады видеть Вас на страницах Пассат-Клуб!
Здесь Вас ждет непрерывное общение, форум,
встречи клуба, скидки от партнеров клуба,
и просто теплое общение в кругу друзей.
Все это — Passat-Club!
|
 |
| |
|
| |
Инструкции
| |
Замечание: Двигатель снимается изпод автомобиля, вместе с трансмиссией. При отсоединении топливных, вакуумных и воздушных линий, а также электропроводки, запоминайте маршруты их прокладки и помечайте соответствующим образом, чтобы не перепутать при установке и уложить их прежним образом.
1 Крепеж опор силового агрегата и усилия его затягивания приведены на иллюстрациях 19.1а-с. Замечание: Крепеж опор силового агрегата после отдавания подлежит обязательной замене.
.png)
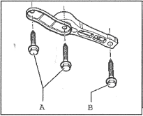
19.1а Крепеж опоры двигателя
А 20 Нм + 90°
В 40 Нм + 90°
С 60 Нм + 90°
.png)
19.1b Крепеж опоры трансмиссии
А 40 Нм + 90°
В 60 Нм + 90°
.png)
19.1с Крепеж маятниковой опоры
А 40 Нм + 90°
В 100 Нм + 90°
2 Снимите защиту картера двигателя и локеры передних колесных арок (см. Главу 11).
3 Установите держатель замка капота в сервисное положение (см. Главу 11).
4 Выключите зажигание и отсоедините от аккумуляторной батареи оба провода (сначала - отрицательный).
5 Снимите верхнюю крышку двигателя (см. Раздел 10).
6 Выверните болт (3 на иллюстрации 25.9) и снимите корпус воздухоочистителя с соединительными шлангами.
.png)
25.9 Снятие корпуса воздухоочистителя
7 Снимите аккумуляторную батарею и ее держатель.
8 Снимите рычаги очистителей ветрового стекла (см. Главу 12).
9 Снимите крышку полости с повышенным давлением.
10 Разъедините разъем электропроводки двигателя от ЕСМ.
11 Снимите держатель электропроводки двигателя.
12 Отсоедините электропроводку от генератора на блоке предохранителей.
13 Отсоедините кабель массы от продольной балки раскройте направляющие электропроводки на продольной
балке.
14 Разъедините все разъемы электропроводки двигателя между двигателем и кузовом автомобиля. Уложите жгуты на двигатель.
15 Отсоедините линию вентиляции и топливную линию (см. иллюстрацию 22.4).
.png)
22.4 Линия продувки и топливная линия
16 Опорожните систему охлаждения двигателя.
17 Отдайте крепеж кронштейна системы выпуска ОГ (см. иллюстрацию 25.6).
.png)
25.6 Крепеж кронштейна системы выпуска ОГ
18 Снимите термозащитный экран правого приводного вала (см. сопр. иллюстрацию).

30.18 Термозащитный экран правого приводного вала
19 Снимите правый приводной вал и отсоедините левый приводной вал от трансмиссии (см. Главу 8).
20 Отдайте гайки (стрелки на иллюстрации 25.5) на соединении передней секции выпускной трубы с выпускным коллектором.
.png)
25.5 Гайки крепления передней секции выпускной трубы
21 Выверните болт 1 и снимите маятниковую опору (см. иллюстрацию 22.14).
.png)
22.14 Болты крепления маятниковой опоры
22 Отсоедините шланг подачи воздуха от нижней части резонаторной камеры.
23 Отсоедините от двигателя и трансмиссии всю оставшуюся электропроводку и различные шланги, и отложите их в сторону.
24 Снимите ремень привода вспомогательных агрегатов (см. Раздел 13).
25 Снимите с двигателя компрессор К/В (см. Главу 3), не отсоединяя от него линии хладагента, и подвесьте компрессор на держателе замка капота.
26 На моделях с РКПП отсоедините механизм выбора передач, опору (1 на сопр. иллюстрации)

30.26 Опора и исполнительный цилиндр
и исполнительный цилиндр (стрелки) гидропривода сцепления (педаль сцепления не должна быть при этом выжата).
27 На моделях с AT отсоедините от нее трос рычага селектора.
28 Разъедините разъем (1 на сопр. иллюстрации) и выверните болты (2-4).

30.28 Разъем электропроводки и болты
29 Установите под силовой агрегат удерживающее приспособление.
30 Выверните болты опоры двигателя (см. иллюстрацию 22.7)
.png)
22.7 Болты крепления сборки опоры двигателя
и трансмиссии (см. иллюстрацию )

30.30 Болты крепления опоры трансмиссии
31 Удостоверьтесь, что к силовому агрегату ничего не подсоединено и аккуратно опустите его из двигательного отсека, стараясь не задеть и не повредить прочее расположенное в нем оборудование.
32 Установка производится в последовательности, обратной порядку демонтажа компонентов.
33 Используйте новые хомуты и стяжки жгутов электропроводки. |
|
|
 |
|
 |
| |
 |
|
 |