Passat ClubО насНовостиПартнеры клубаЭнциклопедияКлубная жизньФотогалереяФорум  
 

Главная Карта сайта Контакты

 
 
 
 
 
 
 

Войти на сайт


 

Энциклопедия

Голосование

 
Какой Passat Ваш
Passat B8
Passat B7
Passat B6
Passat CC
Passat B5.5
Passat B5
 
Результаты





















Мы рады видеть Вас на страницах Пассат-Клуб!
Здесь Вас ждет непрерывное общение, форум,
встречи клуба, скидки от партнеров клуба,
и просто теплое общение в кругу друзей.
Все это — Passat-Club!





   VAG-SERVICE

   
 

Инструкции


  1 Снимите верхнюю крышку двигателя (см. Раздел 31).
2 Снимите верхнюю крышку зубчатого ремня.
3 Отсоедините шланг вентиляции картера от соединения на задней секции впускного трубопровода.
4 Снимите заднюю секцию впускного трубопровода.
5 Отсоедините от впускного трубопровода топливную линию и шланг системы охлаждения.
6 Снимите крышку головки цилиндров.
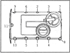
7 Установка производится в обратном порядке. Затягивайте новые болты крепления крышки головки в указанной на сопр. иллюстрации последовательности сначала от руки, а затем с усилием 10 Нм.

45.7 Последовательность затягивания болтов крепления крышки головки цилиндро
 
 
   

МОЙВИЛЛЬ


01.
02.
03.
04.
05.
06.
07.

 
 

Passat-Club Вы попали на частный сайт посвященный автомобилям VW Passat. Этот ресурс не имеет отношения к концерну Volkswagen AG | Разработка сайта -- OrangeLabel.ru | Техподдержка сайта -- MediaEnt.org