Passat ClubО насНовостиПартнеры клубаЭнциклопедияКлубная жизньФотогалереяФорум  
 

Главная Карта сайта Контакты

 
 
 
 
 
 
 

Войти на сайт


 

Энциклопедия

Голосование

 
Какой Passat Ваш
Passat B8
Passat B7
Passat B6
Passat CC
Passat B5.5
Passat B5
 
Результаты





















Мы рады видеть Вас на страницах Пассат-Клуб!
Здесь Вас ждет непрерывное общение, форум,
встречи клуба, скидки от партнеров клуба,
и просто теплое общение в кругу друзей.
Все это — Passat-Club!





   VAG-SERVICE

   
 

Инструкции


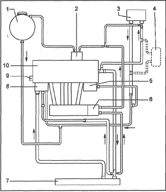
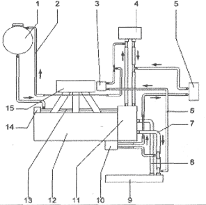
  Система охлаждения двигателя работает по следующему алгоритму. Пока двигатель не прогрет, охлаждающая жидкость (ОЖ) прокачивается постоянно работающим насосом только в головке и блоке цилиндров, а также в теплообменнике отопителя салона (обратитесь к иллюстрациям 1.1a-d).

1.1а Схема системы охлаждения бензинового двигателя 1.6 л FSI (BLF)
1 Расширительный бачок
2 Шланг от клапана 3
3 Клапан EGR (с потенциометром EGR)
4 Радиатор отопителя
5 Охладитель A TF
6 Шланг к клапану 3
7 Верхний шланг
8 Нижний шланг
9 Радиатор
10 Маслоохладитель
11 Корпус термостата
12 Головка цилиндров/блок цилиндров
13 Трубка
14 Водяной насос



1.1b Схема системы охлаждения бензиновых двигателей 2.0 л FSI (BLR)
1 Расширительный бачок
2 Клапан EGR
3 Радиатор отопителя
4 Охладитель ATF
5 Маслоохладитель
6 Блок дроссельной заслонки
7 Радиатор
8 Распределительный патрубок с термостатом
9 Водяной насос
10 Головка цилиндров/блок цилиндров



1.1с Схема системы охлаждения дизельных двигателей 1.9 л (BKC/BLS)
1 Расширительный бачок
2 Задняя трубка
3 Перепускной клапан
4 Охладитель системы EGR
5 Головка цилиндров/блок цилиндров
6 Теплообменник отопителя
7 Соединительный патрубок
8 Передняя трубка
9 Охладитель ATF
10 Верхний шланг охлаждающей жидкости
11 Радиатор
12 Нижний шланг
13 Маслоохладитель
14 Водяной насос с термостатом
15 Верхняя трубка
16 Циркуляционный насос
17 Дополнительный отопитель



1 .1d Схема системы охлаждения дизельного двигателя 2.0 л DOHC (ВКР) с РКПП
1 Расширительный бачок
2 Перепускной клапан
3 Радиатор системы EGR
4 Радиатор отопителя
5 Головка цилиндров/блок цилиндров
6 Верхний шланг
7 Радиатор
8 Нижний шланг
9 Маслоохладитель
10 Водяной насос и термостат
11 Дополнительный отопитель


При повышении температуры ОЖ до определенного уровня термостат открывает большой контур охлаждения и ОЖ циркулирует дополнительно через радиатор (сверху вниз) и охлаждается проходящим через него воздухом. При достижении температуры ОЖ еще более высокого значения включается электрический вентилятор системы охлаждения, который создает дополнительный воздушный поток через ребра радиатора для более интенсивного отвода тепла от него. По мере открывания термостата объем жидкости, подаваемый от него к теплообменнику отопителя, уменьшается.
Перед работой в двигательном отсеке, особенно в области вентилятора радиатора, обязательно отсоединяйте отрицательный провод от аккумуляторной батареи и разъем электропроводки вентилятора, т.к. он может включиться из-за эффекта теплопроводности даже при выключенном зажигании.
Не открывайте крышку расширительного бачка ОЖ до полного остывания двигателя во избежание ожога горячей жидкостью или ее паром.
При необходимости открыть крышку расширительного бачка при горячем двигателе обмотайте ее ветошью. Снимайте крышку медленно, постепенно снижая давление пара.
 
 
   

МОЙВИЛЛЬ


01.
02.
03.
04.
05.
06.
07.

 
 

Passat-Club Вы попали на частный сайт посвященный автомобилям VW Passat. Этот ресурс не имеет отношения к концерну Volkswagen AG | Разработка сайта -- OrangeLabel.ru | Техподдержка сайта -- MediaEnt.org